BM200系列隔离式安全栅

产品简介:BM200系列隔离式安全栅采用了限压、限流、隔离等措施,不仅能防止危险能量从本安端子进入危险现场,提高系统的本安防爆性能,而且增加了系统的抗干扰能力,提高了系统运行的可靠性。
  • 产品简介
  • 技术参数
  • 应用组网图
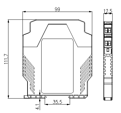
  • 外形尺寸
  • 产品报价
功能:
BM200系列隔离式安全栅采用了限压、限流、隔离等措施,不仅能防止危险能量从本安端子进入危险现场,提高系统的本安防爆性能,而且增加了系统的抗干扰能力,提高了系统运行的可靠性。
 
应用范围:
应用于石油、天然气开采、炼油、化工、燃油燃气充装站、制药、污水处理等场景。
 
订货范例:
具体型号:BM200-DI/I-C12
技术要求:输入1路DC 4-20mA;输出2路DC 4-20mA;准确级0.2级。
通讯协议:无
辅助电源:DC24V
客服1
客服2
客服3
客服4